Tesla патентує вбудовану антену Starlink у своїх авто
Tesla подала нову патентну заявку, яка прямо натякає на підготовку до інтеграції супутникових приймачів Starlink безпосередньо в свої електромобілі.
Сучасні автомобілі Tesla й так належать до найбільш “підключених” у світі. Вони активно використовують мобільні мережі для збору даних Autopilot, оновлень програмного забезпечення “по повітрю”, стримінгових сервісів та інших онлайн-функцій. Але навіть 5G має обмеження — зокрема за межами міст і в регіонах зі слабким покриттям.
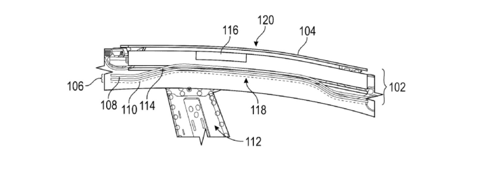
Нова патентна заявка описує технічне рішення цієї проблеми. Документ має назву Vehicle Roof Assembly with Radio Frequency Transparent Material і присвячений конструкції даху, яка пропускає супутникові сигнали.
У патенті зазначено, що традиційні автомобільні дахи зі скла або металу часто блокують чи послаблюють супутниковий сигнал. Через це складно приховано розмістити антену всередині салону. Рішення Tesla — використання спеціальних полімерних матеріалів, зокрема полікарбонату або акрилонітрил-стирол-акрилату, які є “прозорими для радіочастот”.
У документі прямо сказано, що така конструкція дозволяє “інтегрувати антени безпосередньо в структуру даху, забезпечуючи стабільний зв’язок із зовнішніми пристроями та супутниками”. Патент також містить схему багатошарової конструкції даху, яка приховує антену й водночас зберігає жорсткість кузова.

Хоча в патенті не згадують Starlink напряму, натяк більш ніж очевидний. Супутникова мережа SpaceX забезпечує високошвидкісний зв’язок із низькою затримкою — саме те, що потрібно автомобілям Tesla для обробки великих обсягів даних.
Хочеш знати більше, ніж ChatGPT 5? Підписуйся на ITC.ua у TelegramПІДПИСАТИСЯ
Раніше власники Tesla вже встановлювали Starlink Mini на свої авто самостійно, переважно для подорожей і кемпінгу без доступу до мережі. Однак новий патент вказує на заводське рішення, де антена буде повністю прихованою та невидимою.
У такому разі автомобілі Tesla зможуть автоматично перемикатися між мобільними мережами 5G і супутниковим інтернетом Starlink залежно від доступного покриття. Це забезпечить постійне з’єднання з мережею навіть у віддалених районах.
СпецпроєктиДо 20% кешбеку в «Привіт», оновлені умови на «Оплату частинами». Як у «ПриватБанку» проведуть головний розпродаж рокуЧорна пʼятниця: топ-10 товарів зі знижками для дому, контенту й роботи – від проєкторів до GoPro
Джерело: electrek